| Year | JAN | FEB | MAR | APR | MAY | JUN | JUL | AUG | SEP | OCT | NOV | DEC | TOTAL |
|---|---|---|---|---|---|---|---|---|---|---|---|---|---|
| 1 | 65 | 55 | 35 | 35 | 40 | 55 | 75 | 85 | 80 | 80 | 75 | 70 | 750 |
| 2 | 55 | 45 | 35 | 30 | 35 | 50 | 70 | 85 | 75 | 70 | 65 | 60 | 675 |
| 3 | 68 | 57 | 42 | 30 | 48 | 62 | 91 | 113 | 95 | 88 | 78 | 78 | 850 |
| 4 | 79 | 71 | 49 | 43 | 55 | 73 | 107 | 125 | 110 | 104 | 92 | 92 | 1000 |
| Month | JAN | FEB | MAR | APR | MAY | JUN | JUL | AUG | SEP | OCT | NOV | DEC | TOTAL |
|---|---|---|---|---|---|---|---|---|---|---|---|---|---|
| Average | 67 | 57 | 40 | 34 | 44 | 60 | 86 | 102 | 90 | 85 | 78 | 75 | 818 |
Step 3 : Average of monthly averages :
Total of monthly averages/12 i.e., 818/12 = 68
Step 4 : Monthly seasonal index = Monthly average/Average of monthly averages
Step 5 : Seasonal index for January :
Average for January = 67
Average of monthly averages = 68 as calculated in step 3.
Seasonal index for January = 67/68 = 0.98
Step 6 : Calculation of seasonal indices for other months as above
| Month | JAN | FEB | MAR | APR | MAY | JUN | JUL | AUG | SEP | OCT | NOV | DEC | TOTAL |
|---|---|---|---|---|---|---|---|---|---|---|---|---|---|
| Index | 0.98 | 0.84 | 0.59 | 0.50 | 0.64 | 0.88 | 1.26 | 1.50 | 1.32 | 1.25 | 1.14 | 1.10 | 12.00 |
| 1. Name and address of retailer | |||||
| 2. Type of location | Rural | Semi urban | Urban | ||
| (tick appropriate box) | |||||
| 3. Purchases - Last year | |||||
| Fert 1 | Fert 2 | Fert 3 | Total | ||
| Total (ton) | |||||
| Co.'s share (%) | |||||
| 4. Anticipated purchases - Ensuing year | |||||
| Fert 1 | Fert 2 | Fert 3 | Total | ||
| Total (ton) | |||||
| Co.'s share (%) | |||||
| 5. Reason for increase/decrease | |||||
| (a) | (b) | (c) | (d) | (e) | (f) |
| Key : (a) - availability (b) - credit (c) - crop pattern (d) - fertilizer price (e) - produce price (f) - others (specify) | |||||
| Note : Rank these reasons in order of importance assigning 1 to the most important. | |||||
| 6. Remarks | |||||
| Territory : | Year /Season : | |||||
| Sales Officer : | ||||||
| 1. | Sales outlets | No. | 2. Gross Cropped Area (latest) for major crops in '000 ha and irrigated area % | |||
| (a) | No of Co.'s sales outlets last yr/season | Major Crop | Cropped area | Irrigated area (%) | ||
| (b) | Out of (a), sales for ensuing yr/season | |||||
| (i) | likely to be nil | Crop 1 | ||||
| (ii) | likely to decline | |||||
| (iii) | likely to be same | Crop 2 | ||||
| (iv) | likely to increase | |||||
| Total as (a) | Crop 3 | |||||
| (c) | No of new outlets to be activated for ensuing yr/season | |||||
| 3. Sales forecast (t) | |||||||||||||
| Grade | Jan | Feb | Mar | Apr | May | Jun | Jul | Aug | Sep | Oct | Nov | Dec | Total |
| Fert 1 | |||||||||||||
| Fert 2 | |||||||||||||
| Fert 3 | |||||||||||||
| Grade | 4. Previous year sales | 5. % of increase/decrease of sales forecast over 5 | 6. Past 3 years average sales (t) | 7. % increase/decrease of sales forecast over 7 | |||||||||
| Fert 1 | |||||||||||||
| Fert 2 | |||||||||||||
| Fert 3 | |||||||||||||
| 8. Reasons for increase/decrease | |||||||||
| Grade | (a) | (b) | (c) | (d) | (e) | (f) | (g) | (h) | (i) |
| Fert 1 | |||||||||
| Fert 2 | |||||||||
| Fert 3 | |||||||||
| Key : (a) Availability (b) Credit (c) Crop pattern (d) Competition (e) Terms (f) Organisation (g) Fertilizer price (h) Produce price (i) others (specify) | |||||||||
| Note: Rank these reasons in order of importance, assigning 1 to the most important. | |||||||||
| 10. Market Share (%) | Reasons for drop if any using key under 8 | |||||
| Grade | Last 3 years | Proposed for forecast year | ||||
| Year 1 | Year 2 | Year 3 | Average | |||
| Fert 1 | ||||||
| Fert 2 | ||||||
| Fert 3 | ||||||
| 11. Area Manager's moderation | Sales Officer's signature | |||||
| Grade | Quantity | Reasons | ||||
| Fert 1 | Area Manager's signature | |||||
| Fert 2 | ||||||
| Fert 3 | ||||||
Note : Further explanations, if any, may be furnished in a separate sheet.
| A | B | C | D | E | F | G | H | I | J | K | L | M | |
|---|---|---|---|---|---|---|---|---|---|---|---|---|---|
| 1 | |||||||||||||
| 2 | |||||||||||||
| 3 | |||||||||||||
| 4 | |||||||||||||
| 5 | |||||||||||||
| 6 | |||||||||||||
| 7 | |||||||||||||
| 8 | |||||||||||||
| 9 | |||||||||||||
| 10 | |||||||||||||
| 11 | |||||||||||||
| 12 |
| Key: | ||
| 1. Output approach | A. Assess Potential | |
| 2. Input approach | B. Estimate Demand | |
| 3. Trend extension method | C. Estimate Sales | |
| 4. Growth rate method | D. Data available | |
| 5. Causal models | E. Limited data | |
| 6. Product life cycle method | F. Expert help available | |
| 7. Lead indicators method | G. Prefer non-statistical method | |
| 8. Survey of buyers' intention | H. Fertilizer usage well developed | |
| 9. Composite of sales force opinion | I. Fertilizer in early stage | |
| 10. Market share method | J. Cost high | |
| 11. Use of expert judgement | K. Cost moderate | |
| 12. Use of sample surveys | L. Long term | |
| M. Short and medium terms |
Note:
Select the alphabets representing the requirements the methodology should meet. The shaded squares help to identify the methodologies that meet the selected requirements.
| 1. | Population | : | 89 m |
| 2. | Food Production | : | 12.5 m.t |
| 3. | Percapita nutritional standard | : | 140 kg/year |
| 4. | Gross Cropped Area | ||
| All Crops | : | 24.7 m.ha | |
| Major Crops | : | 17.3 m.ha (70%) | |
| Food Crops | : | 21.0 m.ha (85%) | |
| 5. | NPK Consumption | ||
| All Crops | : | 1.49 m.t | |
| Food Crops | : | 1.04 m.t | |
| Per ha consumption | : | 60 kg | |
| NPK Ratio | : | 3:2:1 | |
| 6. | Yield Response Ratio | : | 1/12 |
| (Fertilizers/Food) | |||
| Abbreviations : | m = million | t = ton | ha = hactare |
| yr = year | kg = kilogram |

Summary
For 100 m population in Year 5, fertilizer requirement will be
1.61 m.t at current per capita nutritional standard of 140 kg per year
1.89 m.t at intermediary per capita nutritional standard of 170 kg per year
2.16 m.t at ideal per capita nutritional standard of 200 kg per year
Notes :
Population is taken for a year, say, Year 5. The demand forecast, say for a five-year period can be done for each year by the above procedure. Intermediary values alone change from year to year.
Expert Judgement can be used to assess the value of following factors (see Annex XIV for suggested
procedure) :
Population Growth: Experts from Census Department
Nutrition Standard: from Nutrition Specialists
Effect of Other Inputs: Experts from Extension Department
Yield Response Ratio: Scientists from Research Stations

Summary
For a gross cropped area of 10.00 m. ha in target year, fertilizer requirement wii be
0.72 m. t at the current level of fertilizer application
1.00 m. t. at the intermediary level of fertilizer application
1.27 m. t at the ideal (recommended) level of fertilizer application
Notes :
Area x Dosage repeated for each crop and totalled. Same procedure is repeated for 3 different dosage levels, i.e., current, intermediary and ideal.
Expert Judgement can be used to assess the value of the following factors.
Increase in area : Experts from Agriculture Department
Fertilizer dosage : Scientists from Research Station

Notes :
| (a) | Demand data compilation | Year (Y) | 1 | 2 | 3 | 4 | 5 | 6 | 7 | 8 | 9 | 10 |
| Demand (D) | D1 | D2 | D3 | D4 | D5 | D6 | D7 | D8 | D9 | D10 |
| (b) | Equations of trend curves | : Linear : D(Y) = A + B × Y | where D(Y) is demand for the year Y i.e., the Target year and A, B and C are constant numbers evaluated by statistical technique |
| Quadratic: D(Y) = A + B × Y + C × Y2 | |||
| Exponential : D(Y) = A × BY |
(c) Expert Judgement is used to improve the results by allowing for factors not reflected in the trend.
(d) Forms of trend curves overleaf.
Forms of Trend Curves
![]() | ![]() |
| D(y) = A + B × Y | D(y) = A + B × Y+C×Y2 |
![]() | |
| D(y) = A×BY | |

Notes :
Expert Judgement can be used to assess the value of favourable/unfavourable factors (boxes 3A and 3 B)
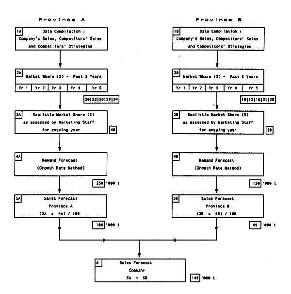
Specimen working is done for 2 provinces and the same procedure can be applied to as many provinces as are in the country.


Note :
Specimen working is done for a province assuming that 2 area offices are located in it The procedure can be applied to several provinces and aggregated.

Notes :
Specimen working is done for 2 provinces and the procedure can be repeated for several provinces and aggregated.

Note :
The flow chart is presented for 2 provinces and the same procedure can be applied to several provinces and aggregated.

Note :
This procedure is used for assessing values of expected population growth, nutritional standard improvement, increases in area, yield response ratio, fertilizer dosage etc., as support to/ refinement of other basic forecasting methods.

| (m. t.) | ||||
|---|---|---|---|---|
| Grade | Qty | N | P | K |
| Urea | 1.30 | 0.60 | ||
| DAP | 1.15 | 0.21 | 0.53 | |
| MOP | 0.45 | 0.27 | ||
| Total | 0.81 | 0.53 | 0.27 | |
| Fertilizer types (t) | |||
|---|---|---|---|
| DAP | UREA | ||
| 1. | Estimated demand for the year | - | - |
| 2. | Opening inventory with domestic producers | - | - |
| 3. | Opening inventory with primary distributors | - | - |
| 4. | Opening inventory at ports | - | - |
| 5. | Total opening inventory (2+3+4) | - | - |
| 6. | Net requirement (1-5) | - | - |
| 7. | Pipeline stock needed (assumed as 10% of anticipated demand, i.e. of item 1) | - | - |
| 8. | Desired reserve stock position (assumed as 10% of anticipated demand, i.e. of item 1) | - | - |
| 9. | Supply plan quantity (6+7+8) | - | - |
| 10. | Domestic production that will be available for current year's consumption | - | - |
| 11. | Quantity to be imported (9-10) | - | - |
| No. of days | ||
|---|---|---|
| (i) | minimum required for short-term forecast and assessment of quantity to be procured | 60 |
| (ii) | negotiation and finalisation of assistance - 60 days out of which 30 days can be concurrent with (i) | 30 |
| (iii) | preparation of bid documents | 2 |
| (iv) | advertising and notice period for bids to be submitted | 30 |
| (v) | opening and closing tender | 1 |
| (vi) | tabulation | 1 |
| (vii) | Donor approval | 10 |
| (viii) | award notification | 1 |
| (ix) | signing of contracts | 4 |
| (x) | L.C. opening and Donor's advice to correspondent bank | 15 |
| (xi) | vessel nomination approval and sailing | 21 |
| (xii) | sailing time for arrival of first vessel | 28 |
| (xiii) | first vessel to arrive one month ahead of season (not year) beginning | 30 |
| Total | 233 | |
| Type of Data | Likely source | |
|---|---|---|
| 1 | Fertilizer types and quantities imported each year | Ministry of Agriculture or Ministry of Supply |
| 2 | Domestic production-by fertilizer types and quantities each year | Ministry of Industry |
| 3 | CIF prices of imports and sources | Ministry of Agriculture or Ministry of Supply |
| 4 | Farmgate prices of different fertilizer types | Ministry of Agriculture |
| 5 | Fertilizer opening stock with manufacturers, primary distributors and at ports each year | Ministry of Agriculture |
| 6 | Quantity of fertilizer consumed each year by fertilizer type and in terms of nutrient | Ministry of Agriculture |
| 7 | Total arable land | Ministry of Agriculture |
| 8 | Area under main crops (periodical census and/or sample survey) | Ministry of Agriculture |
| 9 | Production of foodgrains and other crops each year | Ministry of Agriculture |
| 10 | Area under irrigation | Ministry of Irrigation |
| 11 | Details of irrigation projects under construction | Ministry of Irrigation |
| 12 | Rainfall data by month, province and year | Department of Meteorology |
| 13 | Area under high yielding varieties (sample survey) | Ministry of Agriculture |
| 14 | Recommended nutrient dosage for each main crop for each zone | Department of Extension or Agricultural Research Institute or the Agricultural University |
| 15 | Actual fertilizer applied to each main crop (sample survey) | Ministry of Extension |
| 16 | Crop credit disbursements each year | Central Bank or Agricultural Development Bank |
| 17 | Number of fertilizer outlets by district - private, public and co-operative | Ministry of Agriculture or Ministry of Trade |
| 18 | Procurement or floor prices for main crops | Ministry of Agriculture of the Civil Supplies Department |
| 19 | Market prices of main crops each year | Ministry of Agriculture or the Civil Supplies Department |
| 20 | Price subsidy for inputs | Ministry of Agriculture or Ministry of Finance |
| 21 | Results of fertilizer response trials on different crops | Department of Extension or Agricultural Research Institute or the Agricultural University |
| 22 | Present population and growth rate | Department of Census |
| 23 | Present percapita nutritional requirements | Department of Planning or Department of Nutrition and Health. |
